发布时间:2020-10-22 阅读次数:706 来源:湖北省科技厅
| 政策类别 | 科技类 | 发文字号 | 鄂认定办[2020]27号 |
| 发文单位 | 湖北省科学技术厅 | 官网发布日期 | 2020-10-20 |
| 主管部门 | 湖北省科技厅 | 受理时间 | / |
| 受理部门 | 湖北省科技厅 | 截止日期 | / |
| 办理及协调部门 | 湖北省科学技术厅 | 政策覆盖区域 | 湖北省 |
| 联系电话 | / | 关键词 | 更名高新技术企业名单 |
| 官网链接 | http://kjt.hubei.gov.cn/kjdt/tzgg/202010/t20201020_2964750.shtml | ||
内容详情
各高新技术企业认定执行委员会,东湖高新区、襄阳高新区管委会,各有关单位:
根据《高新技术企业认定管理办法》(国科发火〔2016〕32号)、《高新技术企业认定管理工作指引》(国科发火〔2016〕195号)有关规定,经企业提交变更申请、认定机构审核确认,确认湖北光安伦科技有限公司等71家高新技术企业通过高新技术企业更名,准予换发新证。
附件:湖北省2020年第一批更名高新技术企业名单
湖北省高新技术企业认定管理委员会办公室
2020年10月16日
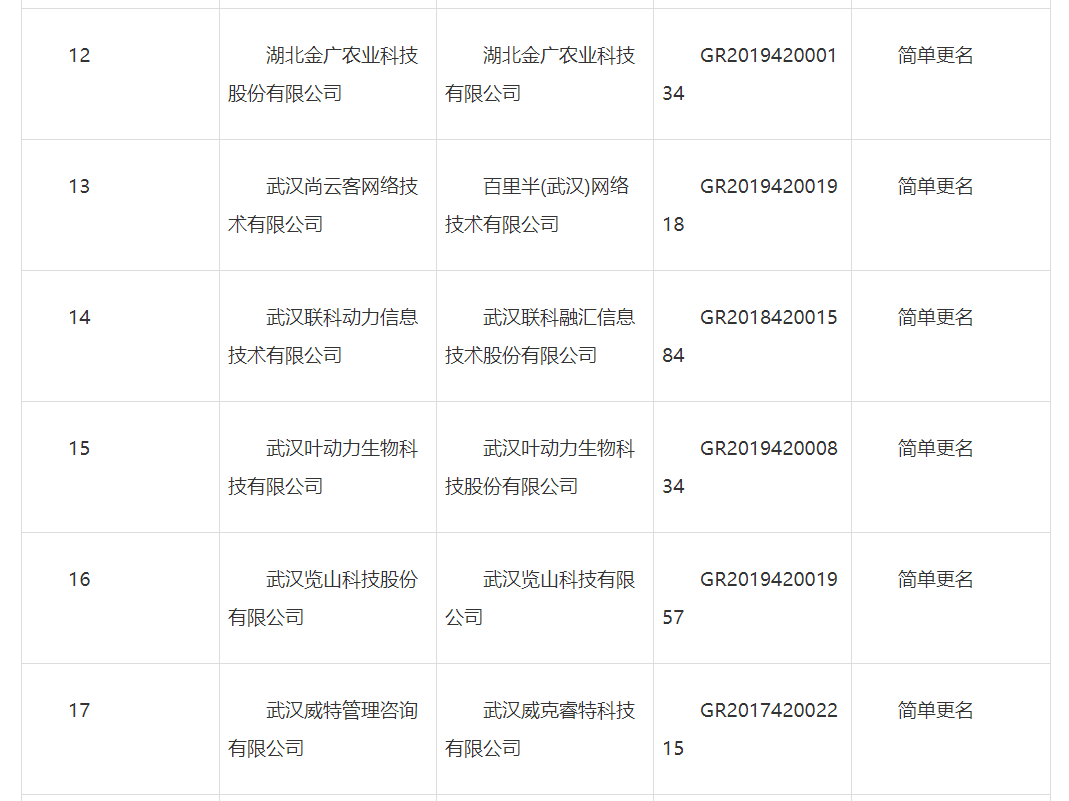
湖北省2020年拟更名高新技术企业名单
(第一批)











